Järnväg, FOMUL
Geometri ››
FOMUL, Fasta Objekt Mellan Undersökningssektion och Lastprofil
Ritning | Geometri | Järnväg | FOMUL

Funktionen beräknar fritt utrymme mellan järnvägsmitt med lutande plan efter räls över mark.
Du kan antingen bläddra din väglinjefil eller markera den från grafiken.
Du väljer sedan hinder du beräknar mot.

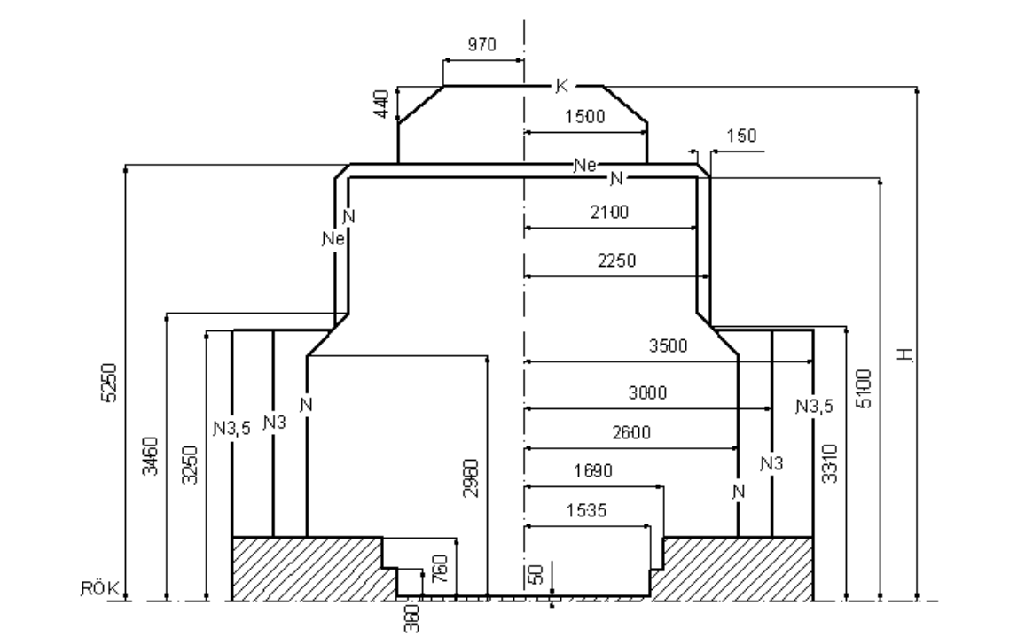
Figur K6.1 Normalsektion för fria rummet [mm] från TRVINFRA-00004.
RÖK är en förkortning för rälsöverkant som vilket är en vanligt förekommande förkortning inom järnvägsteknik. Denna förkortning används även i beskrivningen hur man tolkar rapporten.
X-axeln för fomulrapporten är sidled efter RÖK. Negativa värden är till vänster om rälsmitt. Y-axeln är höjd räknat från RÖK och lutar med kurvor. Negativa värden är under RÖK.


